鐺煮山川,粟藏世界,有明月清風知此音。呵呵笑,笑釀成白酒,散盡黃金。
作者:楊式敏執著團隊
來源:縱橫執行(ID:Legal_enforcement)
在日常工作中,經常有律師與我們溝通交流如何才能夠提高執行案件的回款率。其中,執行分公司財產,是一個被高頻討論的方案。
雖然,執行分公司財產的法律規定明確,看似不存在困難或障礙,但實際操作中,申請執行人往往不對被執行人的分公司進行分析篩選,一股腦的全部提交法官,要求執行分公司。導致經常出現分公司也無財產可供執行,無法執行回款,甚至出現選定的分公司已經被吊銷或注銷,而被法官拒絕執行申請。能否通過分公司執行回款,存在極大的不確定性。
在實踐中,我們一般會針對被執行人的行業特點,先對分公司進行價值篩選判斷,甄選最有價值的合適數量的分公司,供法院執行,提高了通過分公司執行回款的成功率。
如何通過分公司的價值甄別及與法官的有效溝通,提高執行分公司成功率?
我們總結了『兩點經驗』,希望對大家執行回款有所幫助。
甄別有價值的分公司
第三方企業查詢平臺(企查查)檢索顯示,分公司數量排名前五的行業是:
top1:批發和零售業
top2:租賃和商務服務業
top3:建筑業
top4:信息傳輸、軟件和信息技術服務業
top5:房地產業
某一行業的企業,設立分公司或子公司,與行業經營模式、稅收成本等密切相關。上述設立分公司數量的行業排名,客觀反應了不同行業設立分公司的可能性。所以,當被執行人是上述5種行業類型企業時,我們建議可以重點關注他們是否設立了分公司。但是,什么樣的分公司才是真正有價值的呢?
一般情況下,我們會通過四個通用維度結合不同行業的專用維度來甄別分公司的價值。
1.分公司的設立時間
一般企業設立分公司的初始原因,都是因為有異地業務計劃甚至已經實際經營。因此,一般情況下,設立時間越新的,有經營活動可能性越高、資產情況越好,越有執行價值,適合執行回款。
2.分公司的企業狀態
分公司雖然不具備法人主體資格,但是企業狀態同樣有【在業/存續、注銷、撤銷、吊銷】等不同狀態。在甄別時,可以優先將注銷、撤銷、吊銷等處于非正常狀態下的分公司進行剔除,該類分公司一般不具備執行價值。
3.分公司的年度報告公示完成情況
從2014年開始,企業年檢改為“年度報告公示”,由企業自主登陸“全國企業信用信息公示系統”,填報年度報告并依法公示,分公司同樣需要進行年度報告公示。
分公司每年是否均有按期完成“年度報告”,年度報告的公示信息填寫完成度、公開程度,都可以作為甄別指標,按期完成、填寫完成度及公開度越高的,執行價值越高。

4.分公司的被執行人記錄
分公司是否已經因為總公司的其他執行案件而被執行,是一項重要甄別指標。
如果分公司已經因為總公司的其他執行案件被執行,且仍無法執行到財產,則該分公司的執行價值偏低。反之,如果因為執行分公司而使執行案件獲得清償回款,則該分公司的執行價值較高。
如何分析該分公司是否有其他案件執行,以及執行回款情況呢?我們一般推薦2個方法綜合使用:
檢索分公司作為被執行人或者裁定執行分公司財產的裁判文書,通過裁判文書內容,分析該分公司涉及執行案件的清償情況。
借助【企查查】、【啟信寶】等第三方平臺中【歷史被執行人】功能,進行信息分析。第三方平臺通過對執行網的公開數據進行比對,將已結案撤網的執行案件歸入【歷史被執行人】中。

但是2個方法均有一定的不足,裁判文書上網不夠全面、第三方平臺歸納機制仍不夠完善,因此我們建議需要綜合使用進行甄別,以提高判斷的準確性。
5.不同行業分公司的【專用】甄別維度
針對不同行業的被執行人分公司,甄別分公司價值的側重點不同。
1)批發和零售業
此行業企業,甄別時側重分公司是否仍然實際運營,以及實際經營情況是否良好。
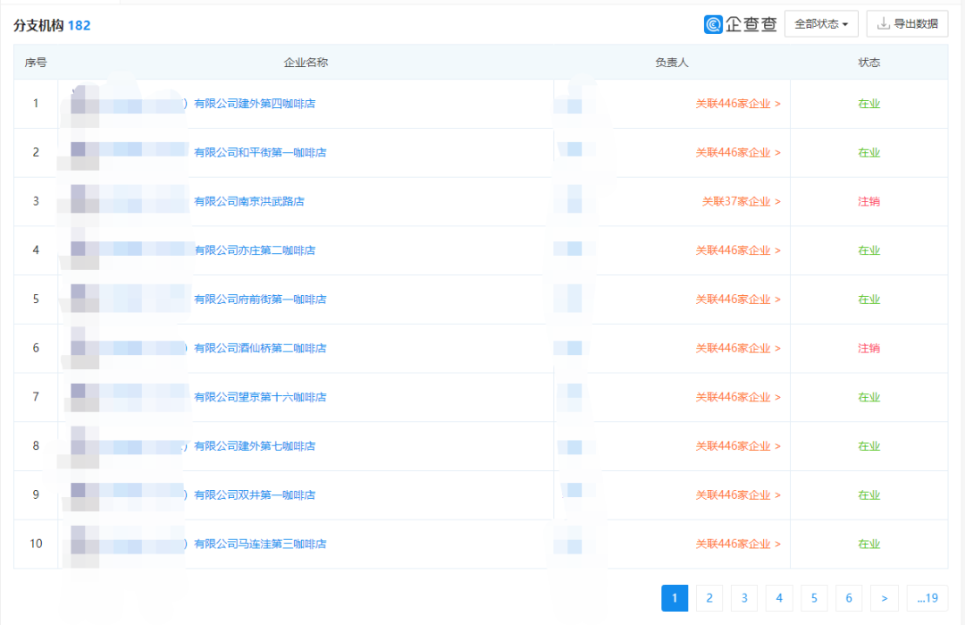
以某咖啡公司為例分析,僅某咖啡(北京)有限公司設立的分支機構就有182家,在使用【通用】甄別初選后,還剩下100+的數量需要再做【專用】甄別,評估實際運營情況。
此時,最直接的甄別渠道是通過線下實體盡調方式進行逐一排查分析。
但是,如果剛好遇到線下門店眾多的企業時,線下盡調可能花費的時間、金錢成本較高,則可以看該企業是否有設置網絡電商平臺、或使用第三方電子商務平臺(比如美團、餓了么、淘寶等),通過網絡平臺的接單情況、評價反饋等進行甄別評估。

2)租賃和商務服務業
此行業企業,甄別時側重分公司名下租賃經營所有的資產,一般包括機動車輛、建筑工程機械與設備、機械設備等,以及實際經營情況。
以汽車租賃為例,某汽車租賃有限公司設立的分支機構就有多達660家,在使用【通用】甄別初選后,可能還剩下600+的數量需要再做【專用】甄別。

在無法取得法院調查令與行政部門進行調查時,我們仍然推薦進行線下實體盡調。通過至對應分公司的經營場所,以顧客身份進行調查。一般租賃車輛均停放于經營場所附近,也可以“選車”為由,要求至現場帶看。如為實際核查車輛的所有人是否為選定的分公司,還可以花費少量租車費,進行租車,取得隨車的行駛證,即可獲取該關鍵信息。

3) 建筑業
建筑業企業分公司,甄別時重點關注該分公司是否有承接建設工程項目。
鑒于建設工程項目一般均應根據《招標投標法》規定進行招投標,因此通過招投標信息查詢該分公司的工程情況具有較高參考價值。此外,還可通過住建部官網對建筑企業分公司的歷史建筑項目進行檢索查詢,作為評估參考。
4)房地產業
房地產業分公司,甄別時一定需要核查的是【購地信息/地塊公示】信息,并且核查該地塊是否有建設相應的房產、建設銷售情況等。
具體土地、房產信息的開源數據檢索,可以參考【開源大數據下,律師有效挖掘被執行人財產線索的10個維度】。以及通過如安居客、貝殼找房等房產交易平臺,查詢樓盤的開盤、銷售情況。
說服法官執行分公司
甄別出有價值的分公司后,還需要努力說服法官同意執行該分公司財產。
一般有這么3個要點需要注意:
1. 申請執行分公司財產的時機要把握準確
根據《最高人民法院關于民事執行中變更、追加當事人若干問題的規定》第十五條第二款規定,執行分支機構財產,以“作為被執行人的法人,直接管理的責任財產不能清償生效法律文書確定債務”為前提。
如擬申請執行分公司財產,建議在執行總公司時,多與執行法官詢問了解總公司的執行情況反饋。如執行法官已反饋告知查無可供執行的銀行存款、車輛、房產等,則此時是一個向執行法官申請執行分公司的恰當時機。
2. 申請執行分公司財產的數量要恰到好處
多數情況下,執行法官對于我們申請執行分公司財產是持接納態度。但此時最好不要將所有查詢到的分公司(有時多達幾十、上百個)都列為被申請對象,而應通過仔細甄別篩選后,跟法官充分溝通交流,提供恰當數量的分公司作為被申請對象。
3. 理解法院實際操作的不同需要,靈活配合提出申請
雖然根據《最高人民法院關于民事執行中變更、追加當事人若干問題的規定》第十五條第二款規定,人民法院可以直接裁定執行分公司的財產,無需追加分公司為被執行人,執行律師應是向法院申請執行分公司財產。
但實際上,往往申請執行分公司財產時,是無明確分公司財產線索,仍然需要借助法院查控系統進行查控。此時基于查控系統需要,仍需要有追加分公司作為被執行人的裁定書,此時執行律師應靈活配合執行法院需求,申請追加分公司為被執行人。
結語
在需要執行回款的案件中,總公司無財產執行時,執行分公司財產是一個可以嘗試的方案。我們應注意優先對分公司進行充分的評估、甄別,以說服法官同意對分公司采取執行措施,最終有效利用分公司執行回款。
希望我們從大量案件中總結出的以上兩點經驗能夠幫助到大家。
注:文章為作者獨立觀點,不代表資產界立場。
題圖來自 Pexels,基于 CC0 協議
本文由“縱橫執行”投稿資產界,并經資產界編輯發布。版權歸原作者所有,未經授權,請勿轉載,謝謝!

縱橫執行 










